AZ系列 基本功能手册 运行 : 控制位置和速度

这是关于AZ系列基本功能的简易手册。有关功能的详细信息,请查阅使用说明书(功能篇)
本内容的适用产品为,AZD-A/AZD-C/AZD-K/AZD-AD/AZD-CD/AZD-KD/AZD-AX/AZD-CX/AZD-KX

绝对定位

设定将原点作为基准的坐标上的目标位置。

从指令位置100 的位置向目标位置8600 运行

【运行数据设定】

【运行数据设定】

【运行示意图】

【运行示意图】

【运行方法】

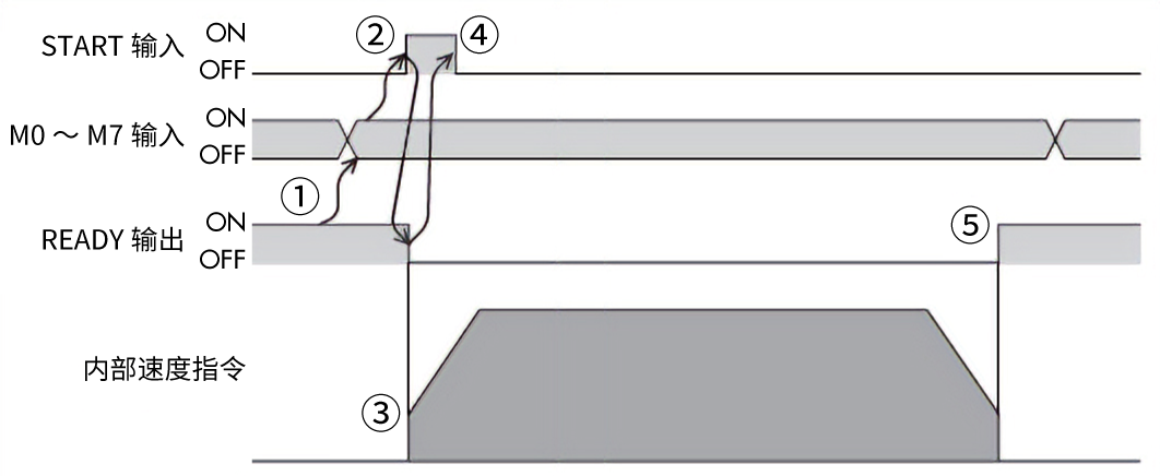
  1. 确认READY输出为ON
  2. 通过M0~M7输入选择运行数据No.,将START输入设为ON
  3. READY输出变为OFF,电动机开始运行
  4. 确认READY输出为OFF,将START输入设定成OFF。
  5. 运行结束后,READY输出变为ON。
【运行方法】

相对定位 (以指令位置为基准)

设定从当前指令位置到目标位置的移动量。

从指令位置100 的位置向目标位置8600 运行

【运行数据设定】

【运行数据设定】

【运行示意图】

【运行示意图】

【运行方法】

  1. 确认READY输出为ON
  2. 通过M0~M7输入选择运行数据No.,将START输入设为ON
  3. READY输出变为OFF,电动机开始运行
  4. 确认READY输出为OFF,将START输入设定成OFF。
  5. 运行结束后,READY输出变为ON。
【运行方法】

绝对定位压推、相对定位压推 (以指令位置为基准)

执行定位压推SD运行时,会按运行数据中设定的运行速度执行自起动运行。之后,在维持速度的同时进行运行,到达目标位置后停止。此外,将TLC输出作为压推运行的完成信号使用时,可对运行中是否发生与负载的压推做出判断。

运行动作 起始位置<目标位置(FWD方向)的情况

运行动作 起始位置<目标位置(FWD方向)的情况

重要

  • 定位压推SD运行的移动量为−2,147,483,648 ~+2,147,483,647 step。电动机的移动量超过上限或下限的最大移动量时,会发生运行数据异常的Alarm。
  • 定位压推SD运行为自起动运行,因此,运行速度过快可能会导致电动机无法正常动作。
  • 由于外力作用下导致电动机移动到位置偏差过大Alarm发生区间时,会发生位置偏差过大的Alarm。
重要

补充

  • 定位压推SD运行的旋转方向 (FWD/RVS) 由运行数据的“位置”设定决定。 设定正值时将向FWD方向、设定为负值时将向RVS方向旋转。
  • 运行数据的「速度」设定为负值时,以绝对值的速度动作。

绝对定位压推

设定将原点作为基准的坐标上的目标位置。

【当前位置向目标位置8600 运行时】

【当前位置向目标位置8600 运行时】

相对定位压推 (以指令位置为基准)

设定将原点作为基准的坐标上的目标位置。

【从当前位置向目标位置8600 运行时】

【运行数据设定 从指令位置100 的位置向目标位置8600 运行】

相关项目